true
stiqtyfree:12
_17:
avail:2
infocode: stock
queu:
shipmin: 30.12.2077
In Stock
stiqtyfree:190
_17:
avail:2
infocode: stock
queu:
shipmin:
In Stock
stiqtyfree:37
_17:
avail:2
infocode: stock
queu:
shipmin:
In Stock
stiqtyfree:47
_17:
avail:2
infocode: stock
queu:
shipmin:
In Stock
Huawei Indoor FTTH / FTTR transparent optical cable SC/APC, 100m, self-bonding
Your price excl. VAT
107.38 EUR
| Your price incl. VAT (21%) | 129.93 EUR |
|---|---|
| blank |
Availability
at our branches
at our branches
| Manufacturer |
Huawei |
|
|---|---|---|
| Code | 10907187 | |
| Part No. | E0SDC3089 | |
| Warranty | 24 months | |
You have a choice of 4 variantscompare all
100m
E0SDC3089
107.38 EUR
30m
E0SDC3088
40.99 EUR
stiqtyfree:12
_17:
avail:2
infocode: stock
queu:
shipmin: 30.12.2077
In Stock
FIK02
1.02 EUR excl. VAT
1.23 EUR incl. VAT
stiqtyfree:190
_17:
avail:2
infocode: stock
queu:
shipmin:
In Stock
FMC2105-SA
2.92 EUR excl. VAT
3.53 EUR incl. VAT
stiqtyfree:37
_17:
avail:2
infocode: stock
queu:
shipmin:
In Stock
FWC01
32.44 EUR excl. VAT
39.25 EUR incl. VAT
stiqtyfree:47
_17:
avail:2
infocode: stock
queu:
shipmin:
In Stock
Parameters
Download
GPSR
Technical parameters
Optics
Number of fibers:
1
Fiber type:
Single Mode
Core diameter [µm]:
9/125
Optical cable type:
FTTR self-adhesive
Physical characteristics
Purpose:
Indoor
Length [m]:
100
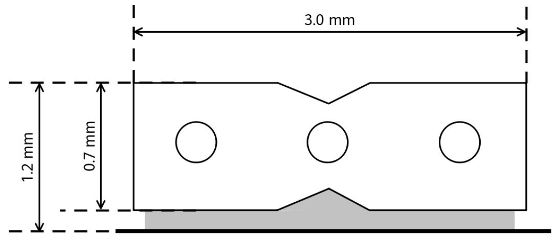
Outer diameter [mm):
1.2 x 3.0
Color:
Transparent







Product description
Self-bonding transparent fibers are applicable to indoor FTTH or FTTR networking scenarios. They are delivered with adhesive and can be quickly attached to suitable wall surfaces after the release film is removed After routing the optical cable, use adhesive or cable clips fixed. It has an elegant appearance, does not affect residence decoration and can be conveniently routed on various decoration materials.
The single-fiber optical cable is available in various lengths from 10m to 100m and is equipped with SC/APC connectors on both ends.
Features & Benefits
Transparent optical cable is a pre-adhesive cable. It needs to be installed in three steps:
Download
Datasheet Instalace - videonávodGPSR
Huawei Technologies (Czech) s.r.o.
Jihlavská 1558/21, Michle, 140 00 Praha 4
sales@huawei.com
Bussines information
Dan Pacanda, +420 370 380 965 , dan.pacanda@discomp.cz